核中警消防设备产品
核中警设备技术资讯
联系方式
- 联系人:郭经理
- 传真:010-69552656
- 电话:400-0346-119
- 电话:010-57113119
- 邮箱:506665119@qq.com
- 地址:北京通州区新华北路117
核中警HJ9506型总线隔离器
文章来自:核中警消防设备 发布时间:2016-09-22 11:09:31

核中警HJ9506型总线隔离器
在总线制火灾自动报警控制系统中,当某一点发生短路后就会引起整个回路通讯瘫痪。如果在每个树枝型分布结构的分叉处安装总线隔离器,就可起到局部保护作用。
(1)性能特点:
* 不占编码地址、无需单独供电;
* 有自锁功能,故障解除后可自动复位;
* 便于施工,电路部分和输出连线采用接插方式;
* 每一探测器回路*多可并接10个总线隔离器。
(2)主要技术指标:
工作电压 DC15-26V脉冲电压
工作电流 ≤8mA
隔离电流 >350mA
动作维持电流 ≤3mA
环境温度 -10~50℃
环境湿度 95%RH(40±2℃)
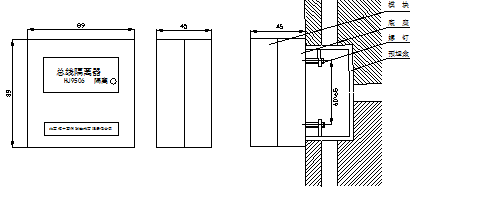
外形尺寸 89×89×45mm
安装方式
配合底座采用插拔式结构安装
(3)外形及安装尺寸


(4)安装接线示意图


说明:
L1(+) 、L2(-)
为总线输入端(有极性)
L3(-) 、L4(+)
为总线输出端(无极性)
存贮:
注意防潮,以免内部元件技术指标下降。






